پتنت تازه مایکروسافت گجتی با سه نمایشگر را به تصویر می کشد

گجت های تاشو با نمایشگر دوگانه احتمالا در آینده فناوری نقش عمده ای ایفا خواهند کرد چرا که غول هایی از قبیل مایکروسافت، سامسونگ، اپل و غیره در حال تلاش برای توسعه چنین ابزارهایی هستند.

پتنت تازه مایکروسافت گجتی با سه نمایشگر را به تصویر می کشد

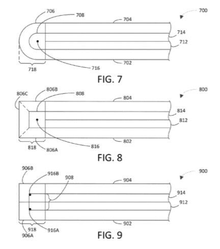
اگرچه شرکت های مذکور هنوز در زمینه توسعه موبایل تاشو به موفقیتی چشم دست پیدا نکرده اند، مایکروسافت پتنتی را ثبت کرده که نشانگر گجتی با سه نمایشگر است که صفحه نمایش سوم آن روی لولا قرار می گیرد.

مکان صفحه نمایش سوم با شماره منتهی به ۰۶ نشان داده شده

این گجت وضعیت لولای بین دو نمایشگر را بر اساس سه حالت کاملا باز، کاملا خم شده یا باز شده تا زاویه ای مشخص تشخیص داده و بر اساس آن اطلاعتی مشخص در نمایشگر سوم ترسیم خواهد شد. این داده ها می تواند به یک یا هر دو صفحه نمایش مرتبط باشد.

تصویر دوم به خروجی صوتی دستگاه ها مربوط می شود که بر اساس آن کاربر می تواند با استفاده از نمایشگر سوم تنظیمات صوتی اپلیکیشن ها را تغییر داده یا تنظیم کند.

در طرح مایکروسافت مثال های متنوعی از نحوه پیاده سازی لولا و نمایشگر روی آن توضیح داده شده که شامل نمایشگر تاشو یا صفحه نمایشی است که در صورت بسته شدن لولا به دو یا حتی سه بخش تقسیم شود.

مثل همیشه باید یادآوری کنیم که ثبت پتنت هیچ تضمینی برای تولید محصول نیست، با این وجود توسعه گجت و به ویژه اسمارت فون های مجهز به نمایشگرهای تاشو در آینده را می توان تا حد زیادی اجتناب ناپذیر دانست. پیش از این کمپانی ZTE از موبایل «Axon M» با نمایشگر تاشو رونمایی کرده، سامسونگ از طرح های مربوط به موبایل Galaxy X خبر داده و ماه گذشته ریچارد یو، مدیرعامل هواوی نیز تاکید کرد این کمپانی یک موبایل تاشو در دست توسعه دارد که ممکن است در سال 2018 عرضه شود.

منبع:دیجیاتو

1261

شبکه‌های اجتماعی
دیدگاهتان را بنویسید